中国包装联合会钢桶专业委员会
网站首页 关于我们 商贸信息 图书库 公司库 行业资讯 展会服务 招聘求职 网站服务 联系我们
设为首页
加入收藏  
会员注册
会员服务
首 页  
行业新闻 | 工艺技术 | 市场信息 | 标准法规 | 网上教程 | 资料查询 | 网上书店 | 企业动态
·设备工装 ·原辅材料 ·业余园地 ·管理文摘 ·展会信息 ·供求信息 ·人才信息 ·企业站点 ·下载中心 ·钢桶杂志 ·专著选登
行业新闻:我们聚集国内外钢桶包装行业相关的新闻资料,让您足不出户了解行业大事,掌握发展方向。
  首页-行业新闻-卡式直塞型钢桶封闭器问世 卡式直塞型钢桶封闭器问世-bt365网址  

 
 
卡式直塞型钢桶封闭器问世

文/杨文亮

最近,由抚顺市腾飞桶口件厂研制的卡式直塞型钢桶封闭器已经完成批量试制,进入推广应用阶段。

一、传统嵌入式法兰封闭器的缺点

目前国内外所使用的包装钢桶,由于钢桶封闭器的结构比较复杂,钢桶封闭器分别由钢桶制造企业和钢桶封闭器制造企业制造,并执行国家标准GB/T 13251—2008《包装、钢桶、嵌入式法兰封闭器》。标准中的钢桶封闭器是由法兰、桶塞、垫圈、衬圈、封盖等构成。桶塞是由U型螺纹塞体和扳扣经焊接成为一体,其桶口部分是由桶顶、螺纹法兰、衬圈经压制成为一体;用户灌装后将桶塞拧入法兰封闭,然后压紧封盖防伪。

这种钢桶封闭器有如下缺点:

1)桶口部分是桶顶、法兰和密封圈三件组合,使钢桶的密封性能大大降低,且增加了法兰和衬圈的制造材料和成本;

2)从桶塞的结构来看,其U型塞体拧紧起封闭作用无可厚非,但其扳扣只有开启作用,又浪费了桶塞制造材料;

3)其封盖只具防尘、防伪的作用,又浪费了制造材料;

4)以上这些浪费不仅降低了钢桶的密封性能,而且又增加了钢桶的成本和重量。

因此,鉴于以上诸多弊端,抚顺市腾飞桶口件厂研制开发了一种卡式直塞型钢桶封闭器。

二、卡式直塞型封闭器装配的结构

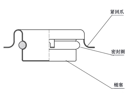
卡式直塞型钢桶封闭器,包括有卡式直塞、桶顶盖、桶塞孔口颈、桶口卷边、O型密封圈。如图1为卡式直塞型钢桶封闭器的装配外形图。



图1 卡式直塞型钢桶封闭器装配外形

图1是还没有把桶塞用安装封口钳进行夹封时候状态,由于桶口和桶塞配合紧密,不封口时也保以反复使用,桶塞不会自行脱离,开启时需要用工具撬动。

对于已经灌装后进行封口的桶塞,可以满足桶盖密封和强度的所有标准要求,开启时,可用普通工具或专用工具撬动盖边上的紧固爪即可。撬开后,桶塞仍可以反复使用。
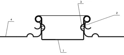
装配后的结构,如图2所示。


图2 卡式直塞形钢桶封闭器装配图
1-桶塞;2-桶口;3-桶塞密封圈;4-桶顶

此卡式直塞型封闭器的优点是:

1、采用卡式直塞与钢桶桶口配合留有间隙,由密封圈实现密封,利用紧固封圈和紧固爪固定结合,较现有传统封闭器,减少了法兰与桶口之间的安装,减少了渗漏的部位,从而提高了钢桶的密封性能。

2、该结构省去了传统封闭器中的法兰、封盖和板扣,从而有效的降低了钢桶整体重量,节省了封闭器的材料和成本。

3、开启时撬开紧固爪后,紧固爪不可还原。真正实现钢桶的防伪性能,操作简单,密封效果好。

4、撬开后,虽然紧固爪已经不能还原,但桶塞还可以反复压入桶口,其密封性和装配强度都能满足使用要求。

三、桶口的结构

卡式直塞型钢桶封闭器最大的优点,就是桶口是种用桶顶直接冲压成形的,不仅省丢了原传统封闭器的法兰,也省去了法兰与桶顶的压合工序,更重要的是,减少了法兰与桶顶之间的泄漏危险性。

如图3为卡式直塞型桶口的的实物结构图。它是在桶顶上,可直接利用桶顶材料,采用冲孔翻边和卷边两道工序完成的,也可以采用冲孔翻边卷边复合模具一次完成。

 



图3 桶口实物结构图

桶口颈部为直壁形,不设螺纹,加工简单,安装方便。桶顶靠近桶口处有一环形加强筋,为防止桶口处变形。

这种简单的桶口结构,是对传统桶口结构的最大颠覆,也是制桶技术的重要升华。在当前倡导绿色环保、节省资源的国际大环境下,这项创新不仅节约了资源、材料和工艺,更重要的是降低了钢桶的渗漏危险。

如图4为桶口的结构示意图。

 


图4 桶口结构示意图

四、桶塞的结构

卡式直塞形封闭器的桶塞,是采用桶底顶冲压下角料生产的,这样就大大地节省了原材料成本。
由于采用非螺纹密封的形式,桶塞结构简单,加工工艺也更为简单,也大大地节省了加工成本。

桶塞直壁上加工了一个凹槽用于安装O形密封圈,周边加工了四组共八个紧固爪。密封圈用于桶口与桶塞间的间隙密封,防止泄漏。紧固爪用于桶塞与桶口的安装连接紧密,使桶塞不易脱落,并有防开启的防伪作用。

如图5所示,为桶塞的实物图。



图5 桶塞实物结构图

如图6所示,为桶塞的结构示意图。桶塞与桶口直壁为间隙配合,装配时借助O形密封圈的预压缩,使配合间隙紧密填充,实现了密封防渗漏目标。密封圈可跟据用户要求,采用橡胶或塑料等其它材料。


图6 桶塞结构示意图

通常情况下,桶塞与桶口的安装,只是将桶塞压入桶口即可,这在制桶企业生产的空桶运往用户手里期间,都可以采用这种方法。由于桶塞入桶口配合紧密,不易脱离,所以不用担心桶塞会掉。当用户准备灌装时,先用普通工具或专用工具将桶塞插出,货物灌装结束后,再将桶塞压入桶口,然后用封口钳将紧固爪收紧,使紧固爪牢牢地卡在桶口卷边上。

要使用桶内容物时,需要用专用工具或普通工具将桶塞紧固爪撬出即可,紧固爪撬出后,基本上不能复原,但桶塞仍然可以反复压入桶口和撬出,不影响反复使用。

五、性能试验

这个卡式直塞型钢桶封闭器,研制成功后,在多家制桶企业进行了试用。近日还在营口旭阳桶业有限公司进行性能试验。如图7为跌落试验现场,图8为液压试验现场。


图7 跌落试验


图8 液压试验

这个性能试验,是根据钢桶国家标准的性能试验要求进行的,试验由营口旭阳制业有限公司董事长陈忠奎亲自监督。试验结果令人十分满意。

国家标准的液压试验要求一类钢桶试验压力为250kPa,而此次进行的性能试验,把压力值升到了270kPa,在超标准试验的情况下,仍然没有出现渗漏现象,说明其密封性及抗压强度是可靠的。

国家标准跌落试验要求一类钢桶试验高度为1.8米,而此次进行的性能试验,把跌落高度提到了2米,试验结果也没出现渗漏或破裂现象。

通过性能试验,我们从根本上消除了原先对这个新产品的怀疑。实践证明,这是一顶可靠的新型钢桶封闭器,可以投入批量使用。

据研究者评估,采用这项技术后,制桶企业在钢桶封闭器上的成本花费,可以稳稳地节约最少50%的费用。卡式直塞钢桶封闭器应该代表了钢桶封闭器技术的发展方向,抚顺?飞桶口件厂,也因此为我国的钢桶包装事业的发展做出了非常大的贡献。这是一项跨时代的发展,必将成为钢桶业发展史上的又一座里程碑!


 

本站部分信息由企业自行提供,该企业负责信息内容的真实性、准确性和合法性。bt365网址对此不承担任何保证责任
关于我们 | 联系我们 | 广告合作 | 付款方式 | 使用帮助 bt365网址 版权所有
中国包装联合会钢桶专业委员会 主办
mailto:winlyons@www.chinabiaoyue.com
【陇ICP备05000400】